Запасные части ЧТЗ Запасные части ЧТЗ
Астрахань
Например:
Актобе
Алдан
или
Выбрать автоматически
Актобе
Алдан
Алматы
Алчевск
Архангельск
Астана
Астрахань
Атырау
Баку
Балашиха
Барнаул
Белгород
Бердянск
Бишкек
Владивосток
Владикавказ
Воркута
Воронеж
Горловка
Грозный
Донецк
Екатеринбург
Иваново
Ижевск
Иркутск
Казань
Калининград
Каменск-Уральский
Караганда
Каховка
Кемерово
Киров
Комсомольск-на-Амуре
Костанай
Краснодар
Красноярск
Красный луч
Ленск
Луганск
Магадан
Магнитогорск
Макеевка
Махачкала
Мелитополь
Минск
Мирный (Якутия)
Москва
Мурманск
Нерюнгри
Нижневартовск
Нижний Новгород
Нижний Тагил
Новая каховка
Новокузнецк
Новосибирск
Новый Уренгой
Норильск
Ноябрьск
Нур-Султан
Омск
Оренбург
Ош
Павлодар
Пермь
Петрозаводск
Петропавловск
Петропавловск-Камчатский
Псков
Ростов-на-Дону
Салехард
Самара
Санкт-Петербург
Саратов
Севастополь
Семей
Симферополь
Сочи
Ставрополь
Сургут
Сыктывкар
Тараз
Ташкент
Токмак
Томск
Тында
Тюмень
Ульяновск
Усинск
Усть-Каменогорск
Уфа
Хабаровск
Ханты-Мансийск
Херсон
Челябинск
Чита
Шымкент
Экибастуз
Энергодар
Южно-Сахалинск
Якутск
Ваш город
Астрахань
Войти
Запасные части к тракторам на одном сайте
+7 (932) 303-00-10
+7 (932) 303-00-10
г. Астрахань, ул. Ботвина, д. 4А
Пн-Пт: 9:30-18:30 Cб-Вс: Выходной
Отправить заявку


Ремонт корпуса бортовых фрикционов и полуоси ведущего колеса Т-170 Б-170 трактора в Астрахани


/
с НДС 20%
Описание

Разборка корпуса бортовых фрикционов Т-170

Разъедините гусеницу. Снимите кабину, сиденье, панели пола, топливный бак, крылья, радиаторы, баки и распределитель гидросистемы, дизель с муфтой сцепления, тяговое прицепное устройство. Отверните болты крепления задних заглушек прямоугольных труб рам тележек и снимите заглушки. Отверните болты крепления концевых подшипников и выньте планки из прямоугольных труб рам тележек.

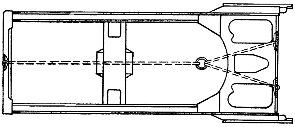
Схема строповки для подъема трансмиссии

Рис. 268. Схема строповки для подъема трансмиссии

Присоедините трансмиссию к подъемнику ( рис. 268 ). Выбейте палец рессоры (см. раздел «Балансирная рессора»). Снимите трансмиссию с тележек трактора и поставьте на подставку для дальнейшей разборки. Разберите бортовые редукторы. Снимите бортовые фрикционы, коробку передач и главную передачу.

Приспособление для выпрессовки полуоси

Рис. 269. Приспособление для выпрессовки полуоси

Снимите пружинные кольца с гаек полуосей и отверните гайки. Выпрессуйте полуоси из корпуса бортовых фрикционов приспособлением ( рис. 269 ).

Для замены полуоси на тракторе разъедините гусеницу, снимите ведущее колесо и лабиринтные уплотнения, кожух бортового редуктора, ступицу (см. «Ремонт бортового редуктора Т-170.00»), пружинное кольцо 1 ( см. рис. 271 ) и отверните гайку 2 с полуоси. Выпрессуйте полуось приспособлением.

Технические требования корпуса бортовых фрикционов Т-170

  1. Трещина в лонжеронах, стенках корпуса и сварных швах не допускаются.

  2. Цилиндрические штифты должны быть запрессованы до упора.

  3. Втулки валиков сервомеханизма, валиков рычагов тормоза и рычагов включения бортовых фрикционов должны быть запрессованы заподлицо с кронштейнами.

  4. Нормальный зазор в сопряжении втулки с валиком сервомеханизма должен быть 0,155...0,410 мм. Допустимый зазор — 0,70 мм. Предельный зазор — 1,00 мм.

  5. Нормальный зазор в сопряжении втулки с валиком рычагов тормоза должен быть 0,140...0,420 мм. Допустимый зазор 0,60 мм. Предельный зазор 0,80 мм.

  6. В резьбовых отверстиях не допускается срыв более двух ниток резьбы.

  7. Нормальный диаметр отверстия под корпус роликоподшипника двойной шестерни 160±0,080 мм. Допустимый диаметр — 160,14 мм.

  8. Сапун отделения конических шестерен должен быть промыт в дизельном топливе.

Сборка и установка корпуса бортовых фрикционов Т-170

Схема строповки для подъема корпуса бортовых фрикционов

Рис. 270. Схема строповки для подъема корпуса бортовых фрикционов

Соедините корпус бортовых. фрикционов, с подъемником ( рис. 270 ) и поставьте его на подставку.

Полуось ведущего колеса

Рис. 271. Полуось ведущего колеса

Вставьте в отверстия корпуса бортовых фрикционов полуось 3 ( рис. 271 ) и, надев на нее гайку 2 и пружинное кольцо 1, установите полуось в корпус шпоночным пазом вверх. Запрессуйте полуось усилием 350...400 кН (35...40 тс). Заверните гайку на полуоси, не снимая усилие запрессовки. Момент затяжки гайки 500...700 Н-м (50...70 кгс-м). Аналогично установите и запрессуйте вторую полуось. Проверьте выступание полуосей из корпуса бортовых фрикционов. Выступание А полуосей из корпуса бортовых фрикционов должно быть в пределах (508±2,5) мм. Застопорите гайки полуосей стопорными кольцами. При несовпадении отверстий в гайке и полуоси просверлите новое отверстие диаметром В=7 мм на расстояние С=17+2 мм от торца гайки, который прилегает к корпусу бортовых фрикционов.

Глубина D отверстия в полуоси должна быть в пределах 16...17 мм.

Установите главную передачу коробку передач. Соберите бортовые редукторы. Установите бортовые фрикционы, сервомеханизм, механизм управления поворотом,тормоза. Установите собранную трансмиссию на тележки гусениц. Установите на раму дизель с муфтой сцепления, гидрораспределитель, гидробаки, радиаторы, крылья, панели пола, сиденье, топливный бак, кабину, капот, гидроцилиндры, защитные кожухи дизеля и поддон прицепное устройство.

Ремонт корпуса бортовых фрикционов и полуоси ведущего колеса