Запасные части ЧТЗ Запасные части ЧТЗ
Астрахань
Например:
Актобе
Алдан
или
Выбрать автоматически
Актобе
Алдан
Алматы
Алчевск
Архангельск
Астана
Астрахань
Атырау
Баку
Балашиха
Барнаул
Белгород
Бердянск
Бишкек
Владивосток
Владикавказ
Воркута
Воронеж
Горловка
Грозный
Донецк
Екатеринбург
Иваново
Ижевск
Иркутск
Казань
Калининград
Каменск-Уральский
Караганда
Каховка
Кемерово
Киров
Комсомольск-на-Амуре
Костанай
Краснодар
Красноярск
Красный луч
Ленск
Луганск
Магадан
Магнитогорск
Макеевка
Махачкала
Мелитополь
Минск
Мирный (Якутия)
Москва
Мурманск
Нерюнгри
Нижневартовск
Нижний Новгород
Нижний Тагил
Новая каховка
Новокузнецк
Новосибирск
Новый Уренгой
Норильск
Ноябрьск
Нур-Султан
Омск
Оренбург
Ош
Павлодар
Пермь
Петрозаводск
Петропавловск
Петропавловск-Камчатский
Псков
Ростов-на-Дону
Салехард
Самара
Санкт-Петербург
Саратов
Севастополь
Семей
Симферополь
Сочи
Ставрополь
Сургут
Сыктывкар
Тараз
Ташкент
Токмак
Томск
Тында
Тюмень
Ульяновск
Усинск
Усть-Каменогорск
Уфа
Хабаровск
Ханты-Мансийск
Херсон
Челябинск
Чита
Шымкент
Экибастуз
Энергодар
Южно-Сахалинск
Якутск
Ваш город
Астрахань
Войти
Запасные части к тракторам на одном сайте
+7 (932) 303-00-10
+7 (932) 303-00-10
г. Астрахань, ул. Ботвина, д. 4А
Пн-Пт: 9:30-18:30 Cб-Вс: Выходной
Отправить заявку


Ремонт механизма сдавания Т-170 Б-170 трактора в Астрахани


/
с НДС 20%
Описание

Снятие механизма сдавания Т-170

Установите трактор на ровную площадку. Рассоедините гусеницу и снимите натяжное колесо. Выньте механизм натяжения и опору механизма натяжения. Отверните четыре болта и снимите грязевой щиток тележки.

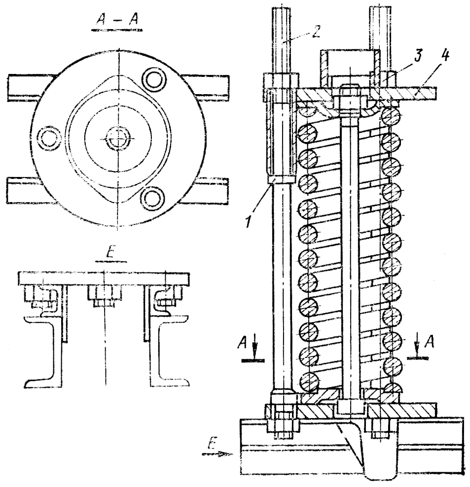
Механизм сдавания

Рис. 299. Механизм сдавания

Сожмите пружину механизма сдавания, завернув гайку 4 ( рис. 299 ) торцовым ключом так, чтобы размер А между торцами гайки и стержня 3 был равен 40...45 мм.

Предупреждение: не отворачивайте болты крепления фланцев механизма сдавания к кронштейнам, пока не будет сжата пружина.

Отверните четыре болта крепления фланцев 5 и 7. Присоедините механизм сдавания с помощью приспособления ПИМ-1357-02 к подъемнику и снимите его. Масса механизма сдавания 98 кг.

Разборка механизма сдавания Т-170

Отогните конец шплинта 2 и выньте его из отверстия стяжного стержня.

Приспособление для сборки и разборки механизма сдавания

Рис. 300. Приспособление для сборки и разборки механизма сдавания

Установите механизм сдавания в приспособление ( рис. 300 ). Установите нажимную шайбу 4 на штанги 2 и наверните гайки 3. "Установите приспособление с механизмом сдавания на пресс. Сожмите пружину до отхода прокладки 1 ( см. рис. 299 ) от гайки 4. Затяните гайки штанг приспособления и отведите шток пресса. Отверните гайку 4 со стяжного стержня. Вторично сожмите пружину. Освободите пружину, последовательно отвертывая гайки штанг и отводя шток пресса. Снимите приспособление с пресса, фланец 5, пружину 6, и фланец 7 со стержня 3.

Сборка механизма сдавания Т-170

Наденьте на стержень 3 фланец 7 и установите стержень с фланцем в приспособление ( см. рис. 300 ). Установите пружину 6 ( см. рис. 299 ) и фланец 5 на стержень. Наденьте на штанги приспособления нажимную шайбу 4 ( см. рис. 300 ) и наверните гайки 3. Установите приспособление с механизмом натяжения на пресс. Сожмите пружину до упора втулки нажимной шайбы в контрольное кольцо 1. Затяните гайки штанг и отведите шток пресса.

Смажьте резьбу стержня 3 ( см. рис. 299 ) графитной смазкой и наверните на него гайку на размер Л= 40...45 мм. Вставьте в отверстие стержня шплинт 2 и загните его концы. Сожмите пружину вторично, отверните гайки штанг и отведите шток пресса. Снимите со штанг приспособления нажимную шайбу. Прикрепите приспособление с механизмом сдавания с помощью приспособления ПИМ-1357-02 к подъемнику и снимите его с пресса.

Установка механизма сдавания Т-170

Прикрепите механизм сдавания с помощью приспособления ПИМ-1357-02 к подъемнику и установите его на раму тележки. Прикрепите фланцы механизма сдавания к кронштейнам четырьмя болтами с пружинными шайбами.

Отверните торцовым ключом гайку 1 на стержне до упора ее в шплинт. Установите опору механизма натяжения,'смазав ее солидолом для того, чтобы она не выпадала из кронштейна. Установите механизм натяжения до упора в опору. Установите натяжное колесо. Установите грязевой щиток тележки. Соедините гусеницу.

Ремонт механизма сдавания