Запасные части ЧТЗ Запасные части ЧТЗ
Астрахань
Например:
Актобе
Алдан
или
Выбрать автоматически
Актобе
Алдан
Алматы
Алчевск
Архангельск
Астана
Астрахань
Атырау
Баку
Балашиха
Барнаул
Белгород
Бердянск
Бишкек
Владивосток
Владикавказ
Воркута
Воронеж
Горловка
Грозный
Донецк
Екатеринбург
Иваново
Ижевск
Иркутск
Казань
Калининград
Каменск-Уральский
Караганда
Каховка
Кемерово
Киров
Комсомольск-на-Амуре
Костанай
Краснодар
Красноярск
Красный луч
Ленск
Луганск
Магадан
Магнитогорск
Макеевка
Махачкала
Мелитополь
Минск
Мирный (Якутия)
Москва
Мурманск
Нерюнгри
Нижневартовск
Нижний Новгород
Нижний Тагил
Новая каховка
Новокузнецк
Новосибирск
Новый Уренгой
Норильск
Ноябрьск
Нур-Султан
Омск
Оренбург
Ош
Павлодар
Пермь
Петрозаводск
Петропавловск
Петропавловск-Камчатский
Псков
Ростов-на-Дону
Салехард
Самара
Санкт-Петербург
Саратов
Севастополь
Семей
Симферополь
Сочи
Ставрополь
Сургут
Сыктывкар
Тараз
Ташкент
Токмак
Томск
Тында
Тюмень
Ульяновск
Усинск
Усть-Каменогорск
Уфа
Хабаровск
Ханты-Мансийск
Херсон
Челябинск
Чита
Шымкент
Экибастуз
Энергодар
Южно-Сахалинск
Якутск
Ваш город
Астрахань
Войти
Запасные части к тракторам на одном сайте
+7 (932) 303-00-10
+7 (932) 303-00-10
г. Астрахань, ул. Ботвина, д. 4А
Пн-Пт: 9:30-18:30 Cб-Вс: Выходной
Отправить заявку


Магнето П-23У трактора в Астрахани


/
с НДС 20%
Описание

На пусковом двигателе применяется магнето М149 левого вращения, с пусковым ускорителем, двухискровое, трехвыводное: два вывода подключаются к свечам двигателя, один вывод — дополнительный, замкнут на «массу».

Магнето имеет дистанционную клемму выключения зажигания. Крепление магнето к двигателю — фланцевое, гайками на трех шпильках. Привод магнето осуществляется от торца валика привода магнето.

Снимайте магнето для проведения текущего ремонта или замены в следующих случаях:

  • магнето дает перебои искрообразования (перебои в работе пускового двигателя);

  • магнето не дает искры или дает слабую искру (не запускается пусковой двигатель).

Магнето подлежит замене, если имеются трещины и обломы его корпуса пли, если его работоспособность нельзя восстановить при проведении текущего ремонта, что определяется после предварительной разборки и проверки технического состояния его сборочных единиц и деталей.

Разборку, ремонт и испытание магнето проводите в специализированных мастерских.

Снятие магнето Т-170

Выньте высоковольтные провода из гнезд распределителя магнето, ослабив зажимные гайки 1 (рис. 112).

Установка магнето
Рис. 112. Установка магнето

Отсоедините провода от клеммы 29 (рис. 113) выключения зажигания.

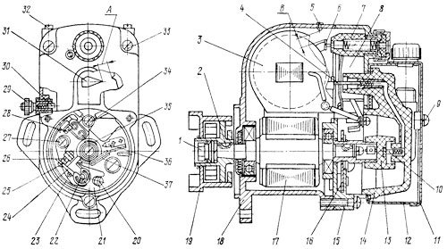
Магнето М 149
Рис. 113. Магнето М 149

Отверните три гайки 4 (см. рис. 112) крепления и снимите магнето 2 с фланцевой прокладкой со шпилек кронштейна 3.

Разборка магнето

Отверните торцовым ключом гайку 1 (см. рис. 113) крепления пускового ускорителя, снимите пусковой ускоритель 19 с конуса вала ротора. Выньте шпонку 2 из паза вала.

Отверните два винта 9 и снимите экран 12 и крышку распределителя 14 в сборе. Снимите бегунок 13, вывернув на два-три оборота винт крепления бегунка.

Отверните винт 34 крепления выводов конденсатора и трансформатора к стойке. Отверните три винта 33 и снимите крышку 15 корпуса магнето. Выньте ротор 17 из корпуса 18. Выверните на 5...7 оборотов шпильки 32 крепления трансформатора и выньте трансформатор 3.

При замене конденсатора 8, а также дополнительного вывода 7 высокого напряжения, отверните соответствующие винты и выньте конденсатор или вывод. При замене дополнительного вывода проконтролируйте, есть ли в нем массирующее устройство: пружина и колпачок.

Без необходимости не снимайте пластину прерывателя 16, так как это нарушит абрис магнето, установить который в полевых условиях невозможно.

При замене контактов прерывателя 25 и 26 отверните винт 28, крепящий пружину 23 рычага прерывателя, снимите замковую шайбу с оси 22 и снимите рычаг прерывателя 24 с пружиной и регулировочными шайбами. Отверните винт 27, крепящий контактную стойку, снимите стойку 21 с оси.

Разборка и сборка пускового ускорителя Т-170

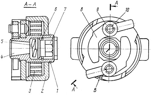
Снимите замок 1 (рис. 114) с втулки собачкодержателя 4.

Пусковой ускоритель магнето
Рис. 114. Пусковой ускоритель магнето

Выведите собачкодержатель из корпуса пускового ускорителя и, придерживая собачкодержатель рукой, дайте ему развернуться под действием-спиральной пружины 3. Выведите конец пружины из прорези В на корпусе пускового ускорителя и снимите ее с втулки собачкодержателя. Снимите замки 10, регулировочные шайбы 9 и собачки 8 с осей собачкодержателя.' При' необходимости замены гайки 7 и шайбы 5 снимите замок 6 и выньте гайку с шайбой.

Технические требования на пусковой ускоритель Т-170

  1. Через каждые два года работы магнето заменяйте смазку в шарикоподшипниках. Удалите остатки старой смазки, промывая сепараторы шарикоподшипников в бензине и протирая внутренние и наружные кольца чистой тряпкой, смоченной в бензине. Удалите с ротора и полюсных башмаков корпуса попавшую на них старую смазку. Слегка смажьте ротор и полюсные башмаки универсальной смазкой ПВК. Сепараторы-шарикоподшипников заполните на 2/3 смазкой ЦИАТИМ-201. Для магнето тропического исполнения применяйте смазку ЦИАТИМ-221.

  2. Задиры и следы коррозии на поверхностях полюсных наконечников ротора зачищайте шлифовальной шкуркой.

  3. Допустимый диаметр поверхности вала ротора под внутренние кольца шарикоподшипников 14,97 мм.

  4. Срыв резьбы под гайку крепления пускового ускорителя не допускается.

  5. Проверяйте намагниченность ротора магнитометром МД-4. Если намагниченность ротора составляет менее 200 мкВб, производите, его замену или намагничивание на аппарате НА-5-ВИМ.

  6. Конус, ламели и резьбу вала ротора, концы сердечника трансформатора и винты крепления его вывода смажьте техническим вазелином, смазкой ЭЗС или смазкой ПВК. Фильцы, шнуры промойте в бензине, пропитайте турбинным маслом и отожмите.

  7. Не допускаются трещины и отколы на крышках корпуса 15 (см. рис. 113) и распределителя 14.

  8. На кольцах и телах качения шарикоподшипников не допускаются следы выкрашивания металла, погнутости и трещины на сепараторе.

  9. Пусковой ускоритель промывайте в чистом бензине без разборки, сушите или продувайте сжатым воздухом, затем смажьте, погружая пусковой ускоритель в смесь масел турбинного и индустриального (по 50 %).

  10. Пробой конденсатора, обрыв цепи или пробой трансформатора не допускаются. Проверяйте на стенде КИ-968. При вышеуказанных дефектах замените трансформатор в сборе и конденсатор. Осмотрите электроды 6 и 31 трансформатора и зачистите их.

  11. Контакты дополнительного вывода 7, распределителя 4 и. 10 и клеммы 30 выключения зажигания при нажатии до упора должны спружинивать без заеданий. Обгоревшие рабочие поверхности этих контактов и электрода бегунка 13 зачищайте.

  12. Рабочие поверхности контактов 25 и 26 прерывателя протирайте капроновой лентой или замшей, смоченной в бензине. При подгорании контактов зачистите их бархатным напильником или плоским надфилем с последующей протиркой.

  13. Если давление на контакты прерывателя, развиваемое пружиной (в момент отрыва контактов), менее 5...7 Н (0,5...0,7 кгс), замените рычаг 24 прерывателя в сборе с пружиной 23.

  14. Если нет смазки на кулачке 35, добавьте 3...5 капель турбинного масла в фильц 37. Во избежание замасливания контактов прерывателя обильная смазка фильца кулачка не допускается.

Сборка пускового ускорителя Т-170

Установите в отверстие втулки 4 (см. рис. 114) собачкодержателя пружинную шайбу 5 и гайку 7. В выточку втулки установите замковое кольцо 6. Наденьте на оси собачкодержателя собачки 8 и зафиксируйте их замковыми кольцами 10. Осевой люфт собачки не более 0,4 мм; регулируйте установкой шайб 9. Собачка должна свободно поворачиваться под собственным весом.

Заведите внутренний конец спиральной пружины в прорезь втулки 4 собачкодержателя, а наружный конец пружины в прорезь В корпуса 2. Закрутите пружину на ½ оборота и вставьте собачкодержатель в паз корпуса пускового ускорителя. Установите в выточку втулки собачкодержателя замковое кольцо 1.

Общая сборка магнето Т-170

Установите трансформатор 3 (см. рис. 113) в корпус 18 и заверните две шпильки 32. При этом контакт 30 должен быть поджат своей пружиной к клемме трансформатора. Проверьте и, при необходимости, отрегулируйте зазор В (между электродом 6 трансформатора и разрядником 5 корпуса), который должен быть в пределах 6,5...7 мм. Регулируйте подгибкой электрода.

Установите и закрепите конденсатор 8 и дополнительный вывод 7 в сборе с контактами и пружиной, если при разборке они вынимались из корпуса. Установите вал ротора 17 в сборе с внутренними кольцами и сепараторами подшипников и кулачком 35 в корпус 18 (в сборе с сальником и запрессованным наружным кольцом подшипника). Наденьте крышку 15 (в сборе с пластиной прерывателя 16 и запрессованным наружным кольцом подшипника) на вал ротора и закрепите крышку на корпусе магнето тремя винтами 33. Осевой люфт ротора должен быть в пределах 0,01...0,15 мм. При необходимости отрегулируйте люфт установкой регулировочной шайбы на вал ротора между магнитом и внутренним кольцом подшипника. Проверьте и, при необходимости, отрегулируйте зазор А (между электродом 31 трансформатора и выступом держателя конденсатора 8), который должен быть в пределах 10,5...11 мм. Регулирование проводите подгибкой электрода и выступа держателя.

Установите на ось 22 контактную стойку 21, заверните винт 27 крепления стойки и закрепите винтом 34 выводы конденсатора и трансформатора. Наденьте на ось рычаг 24 с пружиной 23, установите регулировочные шайбы и закрепите рычаг на оси замковой шайбой. Конец пружины рычага прерывателя закрепите на стойке винтом 28. При сборке контактной стойки 21 и рычага прерывателя 24 отрегулируйте совпадение осей контактов 25 и 26 регулировочными шайбами, устанавливаемыми на ось 22, и подгибкой стойки.

Несоосность контактов 25 и 26 допускается не более 0,3 мм, зазор между стойкой 21 и пластиной 16 не более 0,3 мм, продольный люфт рычага 24 на оси 22 не более 0,2 мм. Угол поворота стойки должен обеспечить зазор между контактами не менее 0,7 мм.

Отрегулируйте зазор между контактами прерывателя. Для регулирования зазора ротора магнето поверните по направлению вращения так, чтобы подушечка рычага прерывателя 24 находилась на выступе кулачка 35, отпустите винт 27 крепления стойки и отверткой, вставленной в прорезь эксцентрика 20, поверните стойку 21 до получения зазора 0,25...0,35 мм между контактами 25 и 26, после чего заверните винт крепления стойки. Проверните ротор магнето до вторичного размыкания контактов и проверьте величину установленного зазора. Зазор контролируйте щупом толщиной 0,3 мм. Начало размыкания контактов должно соответствовать совпадению метки на кулачке 35 со стрелкой пластины 36. Установите и закрепите винтом бегунок 13, наденьте и закрепите двумя винтами 9 крышку 11 экрана вместе с крышкой 14 распределителя и корпусом 12 экрана.

Установите в выточку вала ротора сегментную шпонку 2, наденьте пусковой ускоритель 19 в сборе и закрепите его на валу гайкой 1. После сборки проверьте от руки вращение ротора магнето. Ротор должен вращаться легко без заедания.

Испытание магнето Т-170

Испытание магнето производится на специальном испытательном стенде, на котором ротор магнето приводится во вращение посторонним двигателем. Стенд оборудуется разрядником с расстояниями между главными электродами для подключения основных выводов: при замассированном дополнительном выводе — 7 мм; при подключенном дополнительном выводе — 6 мм. Расстояние между электродами разрядника для подключения дополнительного вывода — 3 мм.

Исправное магнето должно обеспечивать бесперебойное искрообразование на разряднике при частоте вращения ротора, не более 200 мин-1 — при замассированном дополнительном выводе; 250 мин-1 — при подключенном дополнительном выводе к разряднику.

Пусковой ускоритель, установленный на валу ротора магнето, по своим характеристикам должен обеспечивать угол запаздывания 15...25° и автоматически отключаться в интервале 150...300 мин-1.

Номинальная частота вращения ротора магнето в интервале 2300...2600 мин-1.

Магнето должно выдерживать без повреждений испытание на повышенную частоту вращения ротора при 3600 мин-1 при отключенной или замкнутой накоротко первичной цепи.

Испытание электрической прочности изоляции на разомкнутую вторичную цепь (раздел 1 ГОСТ 3940—84) проводите согласно разделу 5 ГОСТ 3941—73 в течение 30 с.

При отсутствии специального стенда рекомендуется следующий способ проверки работоспособности магнето:

  • вставьте провода в гнезда распределителя и дополнительного вывода. Вставленные провода закрепите зажимными гайками. Концы проводов ровно обрежьте, жилы проводов не должны выступать из резиновой изоляции;

  • конец высоковольтного провода, подключенного к дополнительному выводу, подсоедините на «массу» корпуса магнето или выньте провод из гнезда {при вынутом проводе дополнительный вывод автоматически соединяется с «массой» корпуса магнето);

  • держите концы проводов, подключенных к распределителю, на расстоянии 5...7 мм от корпуса магнето и резко проверните ротор магнето влево, Исправное магнето должно дать искру.

Дополнительный вывод проверяйте аналогично: соединяйте на «массу» провод от распределителя, а конец провода от дополнительного вывода держите от корпуса на расстоянии 2...4 мм.

Установка магнето Т-170 на пусковой двигатель

Отсоедините провод свечи и выверните свечу из первого цилиндра (ближнего к магнето). Определите такт сжатия в этом цилиндре; вращайте за пусковую рукоятку коленчатый вал двигателя, прикрыв пальцем отверстие под свечу до тех пор, пока не почувствуется компрессия в цилиндре. Продолжая вращение коленчатого вала, совместите метку В (рис. 115) «Заж» на ободе маховика с меткой А (риской) на люке корпуса муфты сцепления.

Положение маховика пускового двигателя при установке магнето
Рис. 115. Положение маховика пускового двигателя при установке магнето
А — метка (риска) на люке корпуса муфты сцепления; В — метка «Заж» на ободе маховика; С — метка «ВМТ1Ц» на ободе маховика.

На магнето отверните два винта 9 (см. рис. 113) и снимите экран вместе с крышкой распределителя 14. Установите поводок 1 (рис. 116) в положение, соответствующее моменту искрообразования на первом электроде (поводок повернут влево в сторону цифры «1», выбитой на крышке экрана).

Установка магнето на момент начала размыкания контактов прерывателя
Рис. 116. Установка магнето на момент начала размыкания контактов прерывателя
I — вид на крышку экрана магнето; II — вид на пусковой ускоритель магнето.

При этом прорезь В на корпусе пускового ускорителя, в которой закреплен конец пружины, должна быть с левой стороны, если смотреть на посадочный фланец магнето, а ось кулачков 2 пускового ускорителя должна переходить за вертикальную ось магнето на угол К, равный 5...10° по ходу вращения (по направлению стрелки С). В таком положении установите магнето с фланцевой прокладкой на шпильки кронштейна, введя кулачки пускового ускорителя в пазы валика привода магнето, и закрепите, не затягивая, гайками. Затем, не изменяя положения маховика (метка «Заж» совмещена с риской на люке корпуса муфты сцепления) и проворачивая корпус магнето в ту или другую сторону по пазам во фланце, установите контакты прерывателя 25 и 26 (см. рис. 113) на начало размыкания, после чего окончательно закрепите магнето. Начало размыкания контактов соответствует совпадению метки на кулачке со стрелкой пластины распределителя.

Момент начала размыкания точно определяется электрическим прибором, в цепь которого последовательно включены подвижный 25 и неподвижный 26 контакты прерывателя магнето. Неподвижный контакт замените «массой».

Разрыв электрической цепи прибора будет означать момент начала размыкания контактов. Контрольная лампочка в цепи прибора при этом погаснет.

При отсутствии такого прибора момент начала размыкания определите при помощи листочка папиросной бумаги, вложенной между контактами.

В момент размыкания контактов папиросная бумага свободно вынимается.

После установки угла опережения зажигания и закрепления корпуса магнето на фланце гайками установите и закрепите на магнето экран в сборе с крышкой распределителя.

Вставьте провода в гнезда распределителя.

Концы проводов должны быть ровно обрезаны, жилы проводов не должны выступать из резиновой изоляции. Концы проводов в канал вывода вставляйте так, чтобы игла вошла в середину провода и торец провода уперся в дно до конца. В противном, случае возможно пробивание искры на «массу». Вставленные провода закрепите зажимными гайками.

Провода, идущие, от распределителя, присоедините к свечам двигателя: провод от вывода «1» (см. рис. 116) распределителя — к свече первого цилиндра (ближнего к магнето), а провод от вывода «2» — к свече второго цилиндра. Цифры выбиты на крышке экрана магнето.

Зазор между электродами свечи 0,6...0,7 мм регулируйте подгибкой бокового электрода.

Убедитесь в исправности массирующего устройства дополнительного вывода: контакт (колпачок) вывода должен быть поджат пружиной к крышке магнето. Не допускается работа магнето с дополнительным выводом, не замассированным, так как это вызовет выход из строя магнето.

Подсоедините к дистанционной клемме 29 (см. рис. 113) выключения зажигания магнето провод, идущий к выключателю ВК-403 (см. рис. 211) механизма блокировки, коробки передач, и провод, идущий к кнопке выключения зажигания на щитке приборов.

Предупреждение

После установки магнето убедитесь в исправности системы блокировки коробки передач: при выведении рычага переключения диапазонов и заднего хода (правый рычаг коробки) из нейтрального положения включатель ВК-403 должен замыкать дистанционную клемму магнето на «массу», и магнето не должно давать искру между электродами свечей пускового двигателя.

При необходимости отрегулируйте установку включателя ВК-403.

Магнето