Запасные части ЧТЗ Запасные части ЧТЗ
Астрахань
Например:
Актобе
Алдан
или
Выбрать автоматически
Актобе
Алдан
Алматы
Алчевск
Архангельск
Астана
Астрахань
Атырау
Баку
Балашиха
Барнаул
Белгород
Бердянск
Бишкек
Владивосток
Владикавказ
Воркута
Воронеж
Горловка
Грозный
Донецк
Екатеринбург
Иваново
Ижевск
Иркутск
Казань
Калининград
Каменск-Уральский
Караганда
Каховка
Кемерово
Киров
Комсомольск-на-Амуре
Костанай
Краснодар
Красноярск
Красный луч
Ленск
Луганск
Магадан
Магнитогорск
Макеевка
Махачкала
Мелитополь
Минск
Мирный (Якутия)
Москва
Мурманск
Нерюнгри
Нижневартовск
Нижний Новгород
Нижний Тагил
Новая каховка
Новокузнецк
Новосибирск
Новый Уренгой
Норильск
Ноябрьск
Нур-Султан
Омск
Оренбург
Ош
Павлодар
Пермь
Петрозаводск
Петропавловск
Петропавловск-Камчатский
Псков
Ростов-на-Дону
Салехард
Самара
Санкт-Петербург
Саратов
Севастополь
Семей
Симферополь
Сочи
Ставрополь
Сургут
Сыктывкар
Тараз
Ташкент
Токмак
Томск
Тында
Тюмень
Ульяновск
Усинск
Усть-Каменогорск
Уфа
Хабаровск
Ханты-Мансийск
Херсон
Челябинск
Чита
Шымкент
Экибастуз
Энергодар
Южно-Сахалинск
Якутск
Ваш город
Астрахань
Войти
Запасные части к тракторам на одном сайте
+7 (932) 303-00-10
+7 (932) 303-00-10
г. Астрахань, ул. Ботвина, д. 4А
Пн-Пт: 9:30-18:30 Cб-Вс: Выходной
Отправить заявку


Корпус распределительных шестерен П-23У трактора в Астрахани


/
с НДС 20%
Описание

Снятие корпуса распределительных шестерен П-23У

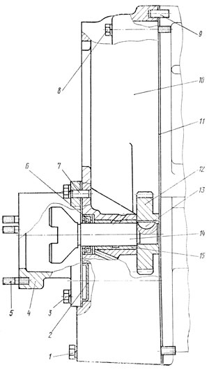
Снимите механизм проворачивания вала, магнето, регулятор и защитную трубку с проводами. Отверните десять болтов 8 (рис. 120) и один нижний болт 1 крепления корпуса распределительных шестерен к блок-картеру двигателя.

Корпус распределительных шестерен
Рис. 120. Корпус распределительных шестерен

Снимите с двух установочных штифтов 9 корпус распределительных шестерен 10 в сборе с кронштейном магнето 4, валиком привода магнето 14 и шестерней 12. Снимите фланцевую прокладку 11.

Разборка корпуса распределительных шестерен П-23У

Отверните три болта 3 и снимите с двух установочных штифтов 7 кронштейн 4 с фланцевой прокладкой. Спрессуйте при помощи съемника шестерню 12 с валика привода магнето 14. Выньте шпонку 13 из паза валика и извлеките валик привода магнето из корпуса. При необходимости выпрессуйте втулку 15, сальник 6 в сборе и заглушку 2 из отверстий в корпусе распределительных шестерен.

Технические требования на корпус распределительных шестерен П-23У

  1. Диаметр отверстия в корпусе под втулку 28+0,033 мм. Наружный диаметр втулки 01514 28+0,097 мм. Посадка втулки в отверстии корпуса с натягом 0,031... 0,097 мм. Допустимый натяг не менее 0,010 мм.

  2. Диаметр отверстия втулки 23+0,021 мм. Диаметр валика привода магнето под втулку 23-0,020 мм. Посадка валика привода магнето в отверстии втулки с зазором 0,020...0,062 мм. Допустимый зазор 0,12 мм. Предельный зазор 0,20 мм.

  3. При износе отверстия втулки по диаметру свыше 23,08 мм и поверхности валика привода магнето по диаметру менее 22,9 мм допускается пере-шлифовка валика на ремонтный размер 22,75-0,020 мм для совместного применения с втулкой 01514-2, отверстие которой разверните до диаметра 22,75+0,023 мм. Втулка 01514-2 поставляется в запасные части с диаметром отверстия 22,4+0,14 мм (с припуском на обработку). Втулку запрессовывайте заподлицо с торцом бобышки корпуса со стороны привалочной плоскости корпуса распределительных шестерен к блок-картеру. Отверстия для подвода масла в бобышке корпуса и во втулке должны совпадать. Запрессовывайте под прессом, не допускайте ударов по бронзовой втулке. Отверстие в корпусе для отвода масла от сальника не должно перекрываться втулкой.

  4. Неперпендикулярность оси отверстия втулки после запрессовки и развертки относительно привалочной плоскости корпуса не более 0,06 мм на длине 100 мм. Несоосность оси отверстия втулки валика привода магнето относительно оси расточки под сальник, не более 0,1 мм.

  5. Диаметр валика привода магнето под шестерню 20+0,023 мм. Диаметр отверстия шестерни 20+0,023 мм. Посадка шестерни на валике в пределах от натяга 0,023 мм до зазора 0,015 мм. Допустимый зазор 0,03 мм. Предельный зазор 0,1 мм.

  6. Средняя длина общей нормали зубьев шестерен 27,2-0,137 мм. Допустимый размер 26,61 мм.

Сборка корпуса распределительных шестерен П-23У

Запрессуйте в корпус распределительных шестерен втулку 15 (см. рис. 120). Отверстия во втулке разверните под размер валика 14, запрессуйте в расточки корпуса заглушку 2 и самоподжимной сальник 6 кромкой кожаной манжеты внутрь корпуса. Торец заглушки и сальника должен быть заподлицо с плоскостью корпуса распределительных шестерен. Смажьте моторным маслом валик привода магнето и установите его во втулку. Установите в паз валика сегментную шпонку 13 и посадите с помощью оправки на валик и шпонку шестерню 12. Валик привода магнето должен вращаться во втулке свободно, без заеданий.

Запрессуйте в корпус распределительных шестерен два штифта 7 для фиксирования кронштейна магнето. Заверните в кронштейн 4 три шпильки 5 крепления магнето. Установите кронштейн с фланцевой прокладкой на два штифта и закрепите на корпусе тремя болтами 3 с пружинными шайбами.

Установка корпуса распределительных шестерен П-23У

Запрессуйте в блок-картер два штифта 9 для фиксирования корпуса распределительных шестерен. Снимите крышку люка на корпусе муфты сцепления пускового двигателя и, проворачивая коленчатый вал, установите поршень первого цилиндра в конце такта сжатия, совместив при этом метку С (рис. 121) «ВМТ-1Ц» на ободе маховика с меткой А (риской) на люке корпуса муфты сцепления.

Положение маховика пускового двигателя при установке корпуса распределительных шестерен
Рис. 121. Положение маховика пускового двигателя при установке корпуса распределительных шестерен
А — метка (риска) на люке корпуса муфты сцепления; В — метка «Заж.» на ободе маховика; С — метка «ВМТ-1Ц» на ободе маховика

Совместите метку Е (риску) на торце валика привода магнето 2 (рис. 122) с меткой Я на фланце кронштейна магнето 1.

Установка корпуса распределительных шестерен по меткам
Рис. 122. Установка корпуса распределительных шестерен по меткам
I — положение меток на валике 2 привода и фланце 1 кронштейна магнето до установки корпуса распределительных шестерен на блок-картер (до ввода н зацепление шестерен); II — положение меток па валике 2 привода магнето и фланце 1 кронштейна магнето после установки и крепления корпуса распределительных шестерен на блок-картере (после ввода в зацепление шестерен)

В таком положении установите корпус 10 (см. рис. 120) распределительных шестерен со смонтированным на нем кронштейном магнето 4 на два штифта 9 блок-картера, уложив между привалочными плоскостями фланцевую прокладку 11 и введя одновременно в зацепление шестерню 12 привода магнето с шестерней коленчатого вала.

После установки корпуса риска на валике привода магнето должна совпадать с меткой М (см. рис. 122) на фланце кронштейна магнето при совмещенной метке «ВМТ-1 Ц» на маховике с риской на люке корпуса муфты сцепления. Закрепите корпус распределительных шестерен на два-три болта 3 и проверьте правильность установки привода магнето, провернув коленчатый вал на два оборота: при совмещенной риске на корпусе муфты сцепления с меткой «ВМТ-1Ц» на маховике должны совместиться риска валика привода магнето с меткой М на фланце кронштейна магнето. Окончательно закрепите корпус распределительных шестерен всеми одиннадцатью болтами с пружинными шайбами.

Корпус распределительных шестерен