Запасные части ЧТЗ Запасные части ЧТЗ
Астрахань
Например:
Актобе
Алдан
или
Выбрать автоматически
Актобе
Алдан
Алматы
Алчевск
Архангельск
Астана
Астрахань
Атырау
Баку
Балашиха
Барнаул
Белгород
Бердянск
Бишкек
Владивосток
Владикавказ
Воркута
Воронеж
Горловка
Грозный
Донецк
Екатеринбург
Иваново
Ижевск
Иркутск
Казань
Калининград
Каменск-Уральский
Караганда
Каховка
Кемерово
Киров
Комсомольск-на-Амуре
Костанай
Краснодар
Красноярск
Красный луч
Ленск
Луганск
Магадан
Магнитогорск
Макеевка
Махачкала
Мелитополь
Минск
Мирный (Якутия)
Москва
Мурманск
Нерюнгри
Нижневартовск
Нижний Новгород
Нижний Тагил
Новая каховка
Новокузнецк
Новосибирск
Новый Уренгой
Норильск
Ноябрьск
Нур-Султан
Омск
Оренбург
Ош
Павлодар
Пермь
Петрозаводск
Петропавловск
Петропавловск-Камчатский
Псков
Ростов-на-Дону
Салехард
Самара
Санкт-Петербург
Саратов
Севастополь
Семей
Симферополь
Сочи
Ставрополь
Сургут
Сыктывкар
Тараз
Ташкент
Токмак
Томск
Тында
Тюмень
Ульяновск
Усинск
Усть-Каменогорск
Уфа
Хабаровск
Ханты-Мансийск
Херсон
Челябинск
Чита
Шымкент
Экибастуз
Энергодар
Южно-Сахалинск
Якутск
Ваш город
Астрахань
Войти
Запасные части к тракторам на одном сайте
+7 (932) 303-00-10
+7 (932) 303-00-10
г. Астрахань, ул. Ботвина, д. 4А
Пн-Пт: 9:30-18:30 Cб-Вс: Выходной
Отправить заявку


Коленчатый вал П-23У трактора в Астрахани


/
с НДС 20%
Описание

Снятие коленчатого вала П-23У

Снимите пусковой двигатель с дизеля. Снимите с двигателя муфту сцепления в сборе с редуктором, механизм проворачивания, регулятор, магнето, корпус распределительных шестерен с кронштейном магнето. Выньте масломерную линейку из блок-картера.

Отогните стопорную шайбу 23 ( см. рис. 130 ) с грани затяжной гайки маховика. Отверните гайку 20 и снимите маховик 26 с коленчатого вала. Расстопорите и выверните четыре болта 27 крепления маслосгонной шайбы 28. Снимите шайбу с прокладкой.

Крепление поддона блок-картера

Рис. 131. Крепление поддона блок-картера

Отверните четыре гайки 2 ( рис. 131 ) и четыре болта 1 крепления поддона. Снимите поддон 3 со шпилек блок-картера. Пометьте и сохраните стальные дистанционные шайбы на четырех шпильках крепления поддона, чтобы при сборке они были установлены на свои шпильки.

Разборка коленчатого вала П-23У

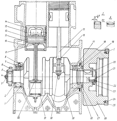
Отогните концы стопорной пластины 3 ( см. рис. 130 ) с болтов крепления шестерен коленчатого вала. Выверните болты 4, снимите прижимную шайбу и спрессуйте шестерню 6.

Снимите дистанционную втулку 2 и спрессуйте съемником передний шарикоподшипник с корпусом 7. Спрессуйте задний шарикоподшипник. Выпрессуйте заглушку 22 из торца коленчатого вала и снимите роликоподшипник 21.

Технические требования на коленчатый вал П-23У

  1. Овальность и конусообразность шатунных шеек коленчатого вала не более 0,01 мм, допустимые значения 0,02 мм, предельные значения 0,05 мм. Диаметр шатунной шейки 50 мм.

  2. Шатунные шейки должны быть прошлифованы, если износ шеек превышает 0,1 мм или овальность и конусообразность их больше 0,05 мм. Шейки шлифуйте на ремонтные размеры, указанные в табл. 16, под размеры ремонтных вкладышей. Для одного вала обе шатунные шейки должны быть одного ремонтного размера.

  3. Нормальный зазор в вертикальной плоскости между вкладышем и шатунной шейкой равен 0,055...0,115 мм. Если зазор превышает 0,25 мм, замените изношенные вкладыши.

  4. При проверке на краску конусной шейки коленчатого вала следы краски должны располагаться равномерно и составлять не менее 50 % всей поверхности шейки. Проверяйте калибром или выверенным маховиком.

  5. Радиальный зазор шарикоподшипников коленчатого вала 0,013 ... 0,033 мм, допустимый зазор 0,10 мм, предельный зазор 0,25 мм.

  6. Диаметр переднего конца вала под шарикоподшипник 50 мм допустимый диаметр 50,0 мм. Диаметр заднего конца вала под шарикоподшипник 55 мм, допустимый диаметр 55,00 мм.

  7. Диаметр отверстия в торце вала под роликоподшипник 34 мм, допустимый диаметр 34,05 мм.

  8. Зазор между маслосгонной шайбой и коленчатым валом 0,107...0,227 мм, допустимый зазор 0,4 мм, предельный зазор 0,7 мм.

  9. Осевой люфт коленчатого вала в подшипниках допускается не более 1 мм.

  10. Посадка шпонки маховика в шпоночный паз коленчатого вала от зазора 0,015 мм до натяга 0,055 мм, допустимый зазор 0,04 мм, предельный зазор 0,15 мм.

  11. Средний размер общей нормали зубчатого венца шестерни коленчатого вала 27,2 мм, допустимый размер 26,61 мм.

Сборка коленчатого вала П-23У

Посадите передний шарикоподшипник в корпус 7 ( см. рис. 130 ) и вставьте в выточку корпуса стопорное кольцо 1. Установите коленчатый вал в сборочное приспособление. Нагрейте в масляной ванне задний подшипник и корпус с передним шарикоподшипником до температуры 373 К (100 °С) в течение не менее 30 мин. Наденьте на шейку вала корпус 7 с нагретым передним шарикоподшипником. Наденьте на шейку вала дистанционную втулку 2 и запрессуйте в паз вала шпонку. Напрессуйте на вал шестерню 6, и застопорите ее от осевого перемещения прижимной шайбой 5 и двумя болтами 4 со стопорной пластиной 3. Отогните края пластины на грани болтов.

Переверните коленчатый вал в приспособлении и наденьте на шейку нагретый задний шарикоподшипник 17. Вставьте в отверстие коленчатого вала роликовый подшипник 21 и заглушку 22.

Установка коленчатого вала П-23У

Снимите крышки подшипников с шатунов. Протрите салфеткой и смажьте моторным маслом шейки коленчатого вала. Установите коленчатый вал в блок так, чтобы корпус переднего шарикоподшипника сел отверстием на установочный штифт 8, запрессованный в блок, а меченный зуб шестерни коленчатого вала вошел во впадину вала с меткой шестерни распределительного вала. Заведите нижние головки шатунов на шейки вала и установите крышки шатунов. Закрепите крышки шатунов болтами с тайками. Момент затяжки гайки 88,2... 107,8 Н-м (9,11 кгс-м). При несовпадении прорези гайки с отверстием в шатунном болте под шплинт доверните гайку и вставьте шплинт.

Разведите концы шплинта: один на грань гайки, другой на торец шатунного болта.

Установите на четыре шпильки блока дистанционные стальные, шайбы. Установите на шпильки блока три прокладки и поддон 3 ( см. рис. 131 ). Закрепите поддон четырьмя- болтами 1 с пружинными шайбами и гайками 2 на четырех шпильках. Момент затяжки гаек 68,6...88,2 Н-м (7... 9 кгс/м). Установите маслосгонную шайбу 28 ( см. рис. 130 ) с прокладкой 18 на коленчатый вал так, чтобы надпись НИЗ была обращена к поддону.

Закрепите шайбу четырьмя болтами 27 с замковыми пластинами 19 и застопорите болты, отогнув пластины. Напрессуйте на коленчатый вал маховик 26 и закрепите его гайкой 20 со стопорной шайбой 23.

Отогните края шайбы на грань гайки и площадку ступицы маховика. Установите на блок-картер муфту сцепления с редуктором, корпус распределительных шестерен с кронштейном магнето, магнето, регулятор и механизм проворачивания. Установите пусковой двигатель на дизель. Залейте моторное масло в поддон двигателя в количеству 1,9 л.

Коленчатый вал