Запасные части ЧТЗ Запасные части ЧТЗ
Астрахань
Например:
Актобе
Алдан
или
Выбрать автоматически
Актобе
Алдан
Алматы
Алчевск
Архангельск
Астана
Астрахань
Атырау
Баку
Балашиха
Барнаул
Белгород
Бердянск
Бишкек
Владивосток
Владикавказ
Воркута
Воронеж
Горловка
Грозный
Донецк
Екатеринбург
Иваново
Ижевск
Иркутск
Казань
Калининград
Каменск-Уральский
Караганда
Каховка
Кемерово
Киров
Комсомольск-на-Амуре
Костанай
Краснодар
Красноярск
Красный луч
Ленск
Луганск
Магадан
Магнитогорск
Макеевка
Махачкала
Мелитополь
Минск
Мирный (Якутия)
Москва
Мурманск
Нерюнгри
Нижневартовск
Нижний Новгород
Нижний Тагил
Новая каховка
Новокузнецк
Новосибирск
Новый Уренгой
Норильск
Ноябрьск
Нур-Султан
Омск
Оренбург
Ош
Павлодар
Пермь
Петрозаводск
Петропавловск
Петропавловск-Камчатский
Псков
Ростов-на-Дону
Салехард
Самара
Санкт-Петербург
Саратов
Севастополь
Семей
Симферополь
Сочи
Ставрополь
Сургут
Сыктывкар
Тараз
Ташкент
Токмак
Томск
Тында
Тюмень
Ульяновск
Усинск
Усть-Каменогорск
Уфа
Хабаровск
Ханты-Мансийск
Херсон
Челябинск
Чита
Шымкент
Экибастуз
Энергодар
Южно-Сахалинск
Якутск
Ваш город
Астрахань
Войти
Запасные части к тракторам на одном сайте
+7 (932) 303-00-10
+7 (932) 303-00-10
г. Астрахань, ул. Ботвина, д. 4А
Пн-Пт: 9:30-18:30 Cб-Вс: Выходной
Отправить заявку


Органы управления дополнительным оборудованием


/
с НДС 20%
Описание
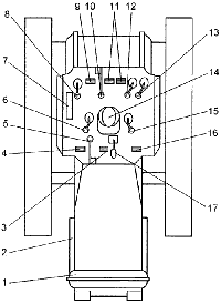
Размещение органов управления краном, дублирующих органов управления трактором представлено на рис. 2. Назначение органов управления дано символами на табличках, размещенных в кабине. Значения символов на рис. 3.

Схема размещения органов управления и дополнительного оборудования
Рис. 2 Схема размещения органов управления и дополнительного оборудования
1-топливный бак; 2-дополнительная рама трактора; 3-педаль тормоза; 4, 5, 10- управление подачей топлива; 6, 15-рычаги управления коробкой передач; 7-дополнительный отопитель; 8-рычаг управления реверсом лебедки; 9, 16-педаль муфты сцепления; 11-педали тормоза лебедки; 12, 13-рычаги управления муфтами лебедки; 14-поворотное сиденье; 17-рычаг управления поворотом

В нише установлены органы управления крановым оборудованием и дублирующие органы управления трактором:
  • рычаги управления муфтами лебедки с фиксацией в крайних положениях
  • рычаг управления реверсом лебедки
  • педали тормозов лебедки
  • педаль, дублирующая управление муфтой сцепления трактора
Описание положений органов управления при работе с краном – в инструкции крана прицепного КП-25.

Значение символов на табличках в кабине трактора
Рис. 3 Значение символов на табличках в кабине трактора
1-управление реверсом лебедки; 2-подача топлива; 3-подъем-опускание стрелы; 4-подъем-опускание груза; 5-муфта сцепления – отключено; 6-тормоз подъема-опускания стрелы; 7-тормоз подъема груза

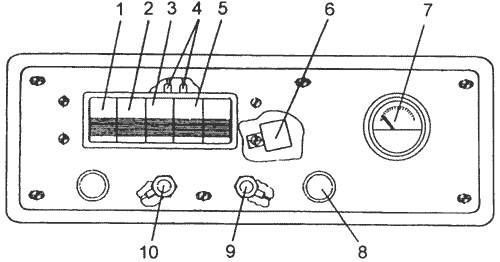
На задней стенке кабины установлен дополнительный щиток управления (рис. 4), подсоединенный к щитку приборов трактора, и рычаг, дублирующий управление акселератором.
На щитке приборов трактора установлен указатель уровня топлива.

На дополнительном щитке управления установлены:
  • выключатель ВК 322
  • фонарь контрольной лампы 123.3803
  • патрон со штекером ЛВ 211-329
  • сигнализаторы предельного подъема груза и предельного натяжения каната
  • блок клавишных выключателей (назначение каждой клавиши указано символами)
Внутри корпуса щитка управления установлены блок предохранителей, реле блокировки стартера и коммутационное электрооборудование.

Щиток управления крановым оборудованием
Рис. 4 Щиток управления крановым оборудованием
1-включение питания; 2-включение ротора; 3-освещение вышки I группы; 4-жгут 12А; 5-освещение вышки II группы; 6-реле; 7- указатель давления масла; 8-фонарь контрольной лампы ; 9,10- выключатель ВК 322

Органы управления дополнительным оборудованием