Запасные части ЧТЗ Запасные части ЧТЗ
Астрахань
Например:
Актобе
Алдан
или
Выбрать автоматически
Актобе
Алдан
Алматы
Алчевск
Архангельск
Астана
Астрахань
Атырау
Баку
Балашиха
Барнаул
Белгород
Бердянск
Бишкек
Владивосток
Владикавказ
Воркута
Воронеж
Горловка
Грозный
Донецк
Екатеринбург
Иваново
Ижевск
Иркутск
Казань
Калининград
Каменск-Уральский
Караганда
Каховка
Кемерово
Киров
Комсомольск-на-Амуре
Костанай
Краснодар
Красноярск
Красный луч
Ленск
Луганск
Магадан
Магнитогорск
Макеевка
Махачкала
Мелитополь
Минск
Мирный (Якутия)
Москва
Мурманск
Нерюнгри
Нижневартовск
Нижний Новгород
Нижний Тагил
Новая каховка
Новокузнецк
Новосибирск
Новый Уренгой
Норильск
Ноябрьск
Нур-Султан
Омск
Оренбург
Ош
Павлодар
Пермь
Петрозаводск
Петропавловск
Петропавловск-Камчатский
Псков
Ростов-на-Дону
Салехард
Самара
Санкт-Петербург
Саратов
Севастополь
Семей
Симферополь
Сочи
Ставрополь
Сургут
Сыктывкар
Тараз
Ташкент
Токмак
Томск
Тында
Тюмень
Ульяновск
Усинск
Усть-Каменогорск
Уфа
Хабаровск
Ханты-Мансийск
Херсон
Челябинск
Чита
Шымкент
Экибастуз
Энергодар
Южно-Сахалинск
Якутск
Ваш город
Астрахань
Войти
Запасные части к тракторам на одном сайте
+7 (932) 303-00-10
+7 (932) 303-00-10
г. Астрахань, ул. Ботвина, д. 4А
Пн-Пт: 9:30-18:30 Cб-Вс: Выходной
Отправить заявку


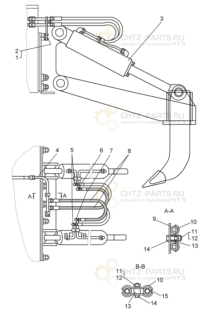
Установка гидроцилиндров на рыхлитель 10 Н2 для Б10М


/
с НДС 20%
Описание
Установка гидроцилиндров на рыхлитель 10Н2 для Б10М
Поз. Обозначение Наименование Кол-во
1 М10×25.58.019 Болт 4
2 10 ОТ 65Г 09 Шайба 4
3 Гидроцилиндр 50-50-225СП 2
4 50-50-126СП Труба 2
5 50-50-145СП Труба 2
6 50-50-146СП Труба 2
7 50-50-147СП Труба 2
8 Рукав с защитой 64-26-27-06СП;
64-26-27-01СП
4
9 50-60-135СП Кронштейн 2
10 Прижим 50-60-230 6
11 3011 Гайка 6
12 12 ОТ 65Г 09 Шайба 6
13 41832 Втулка 4
14 М12×45.58.019 Болт 2
15 42212 Муфточка 4
Установка гидроцилиндров на рыхлитель 10 Н2