Запасные части ЧТЗ Запасные части ЧТЗ
Астрахань
Например:
Актобе
Алдан
или
Выбрать автоматически
Актобе
Алдан
Алматы
Алчевск
Архангельск
Астана
Астрахань
Атырау
Баку
Балашиха
Барнаул
Белгород
Бердянск
Бишкек
Владивосток
Владикавказ
Воркута
Воронеж
Горловка
Грозный
Донецк
Екатеринбург
Иваново
Ижевск
Иркутск
Казань
Калининград
Каменск-Уральский
Караганда
Каховка
Кемерово
Киров
Комсомольск-на-Амуре
Костанай
Краснодар
Красноярск
Красный луч
Ленск
Луганск
Магадан
Магнитогорск
Макеевка
Махачкала
Мелитополь
Минск
Мирный (Якутия)
Москва
Мурманск
Нерюнгри
Нижневартовск
Нижний Новгород
Нижний Тагил
Новая каховка
Новокузнецк
Новосибирск
Новый Уренгой
Норильск
Ноябрьск
Нур-Султан
Омск
Оренбург
Ош
Павлодар
Пермь
Петрозаводск
Петропавловск
Петропавловск-Камчатский
Псков
Ростов-на-Дону
Салехард
Самара
Санкт-Петербург
Саратов
Севастополь
Семей
Симферополь
Сочи
Ставрополь
Сургут
Сыктывкар
Тараз
Ташкент
Токмак
Томск
Тында
Тюмень
Ульяновск
Усинск
Усть-Каменогорск
Уфа
Хабаровск
Ханты-Мансийск
Херсон
Челябинск
Чита
Шымкент
Экибастуз
Энергодар
Южно-Сахалинск
Якутск
Ваш город
Астрахань
Войти
Запасные части к тракторам на одном сайте
+7 (932) 303-00-10
+7 (932) 303-00-10
г. Астрахань, ул. Ботвина, д. 4А
Пн-Пт: 9:30-18:30 Cб-Вс: Выходной
Отправить заявку


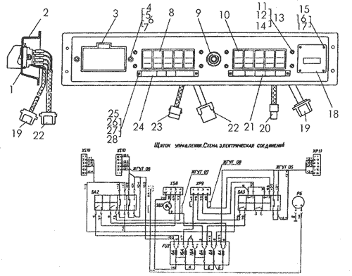
Щиток управления на Т-170


/
с НДС 20%
Описание
Щиток управления Т-170
Поз.НаименованиеАртикулКол-во в сборке
0Блок предохранителей FU2FU21
0Жгут 0950-10-662СП1
0Провод50-10-663СП1
0Провод50-10-664СП1
0Провод21
0Провод51
0Провод761
0Провод81
0Провод 8250-10-343СП1
0Провод91
0Табличка 125х1250-42-523-51
0Табличка 125х1250-42-523-41
0Щиток управления50-10-720СП1
1Проставка700-40-70404
2Панель щитка управления700-42-24901
3Блок предохранителейПР-1201
4ВинтВ.М6-8gХ18.58.0192
5ГайкаМ6Х6.0192
6Шайба6Т65Г092
7Шайба31358-12
8Блок клавишных выключателей5306.3710-07171
9Выключатель11.3704.0001
10Блок клавишных выключателей53.3710-03.171
11ВинтВ.М4-6gХ20.58.0198
12ГайкаМ4Х6.0198
13Шайба4Т65Г068
14Шайба31534-18
15ВинтВ.М4-6gХ25.58.0194
16ГайкаМ4-6Н.6.0194
17Шайба4Т65Г0194
18Счетчик времени наработки СВН-2-021
19Жгут 0550-10-654СП1
20Жгут 0850-10-661СП1
21Табличка 125х1250-42-523-11
22Жгут 0650-10-655СП1
23Жгут 0750-10-721СП1
24Табличка 125х1250-42-523-21
25ВинтВ.М3-6gХ10.58.0194
26ГайкаМ3Х6.0194
27Шайба3Т65Г064
28Шайба313114
Щиток управления