Запасные части ЧТЗ Запасные части ЧТЗ
Астрахань
Например:
Актобе
Алдан
или
Выбрать автоматически
Актобе
Алдан
Алматы
Алчевск
Архангельск
Астана
Астрахань
Атырау
Баку
Балашиха
Барнаул
Белгород
Бердянск
Бишкек
Владивосток
Владикавказ
Воркута
Воронеж
Горловка
Грозный
Донецк
Екатеринбург
Иваново
Ижевск
Иркутск
Казань
Калининград
Каменск-Уральский
Караганда
Каховка
Кемерово
Киров
Комсомольск-на-Амуре
Костанай
Краснодар
Красноярск
Красный луч
Ленск
Луганск
Магадан
Магнитогорск
Макеевка
Махачкала
Мелитополь
Минск
Мирный (Якутия)
Москва
Мурманск
Нерюнгри
Нижневартовск
Нижний Новгород
Нижний Тагил
Новая каховка
Новокузнецк
Новосибирск
Новый Уренгой
Норильск
Ноябрьск
Нур-Султан
Омск
Оренбург
Ош
Павлодар
Пермь
Петрозаводск
Петропавловск
Петропавловск-Камчатский
Псков
Ростов-на-Дону
Салехард
Самара
Санкт-Петербург
Саратов
Севастополь
Семей
Симферополь
Сочи
Ставрополь
Сургут
Сыктывкар
Тараз
Ташкент
Токмак
Томск
Тында
Тюмень
Ульяновск
Усинск
Усть-Каменогорск
Уфа
Хабаровск
Ханты-Мансийск
Херсон
Челябинск
Чита
Шымкент
Экибастуз
Энергодар
Южно-Сахалинск
Якутск
Ваш город
Астрахань
Войти
Запасные части к тракторам на одном сайте
+7 (932) 303-00-10
+7 (932) 303-00-10
г. Астрахань, ул. Ботвина, д. 4А
Пн-Пт: 9:30-18:30 Cб-Вс: Выходной
Отправить заявку


Механизм газораспределения пускового двигателя на Т-170


/
с НДС 20%
Описание
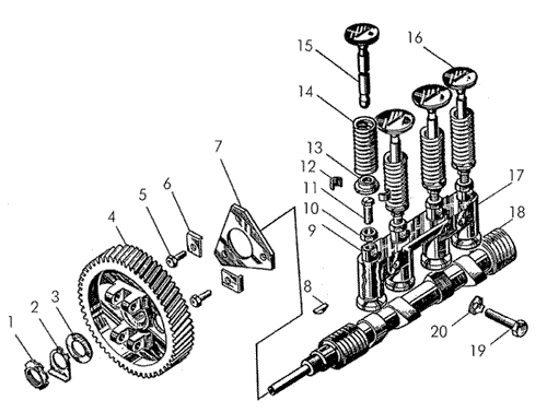
Механизм газораспределения пускового двигателя Т-170
Поз.НаименованиеАртикулКол-во в сборке
0Механизм газораспределения17-04-2СП1
1Гайка042331
2Шайба 313571
3Шайба нажимная042321
4Шестерня17-04-11
5БолтМ8Х16.58.0193
6Пластина стопорная311023
7Шайба упорная041031
8Шпонка 341261
9Толкатель клапана041104
10Гайка30834
11Болт толкателя041124
12Сухарик клапана041191
13Тарелка клапана 041184
14Пружина38684
15Клапан всасывающий 042342
16Клапан выпускной 042352
17Кронштейн041111
18Вал распределительный 042301
19БолтМ10Х45.58.0192
20Шайба стопорная 31982
Механизм газораспределения пускового двигателя