Запасные части ЧТЗ Запасные части ЧТЗ
Астрахань
Например:
Актобе
Алдан
или
Выбрать автоматически
Актобе
Алдан
Алматы
Алчевск
Архангельск
Астана
Астрахань
Атырау
Баку
Балашиха
Барнаул
Белгород
Бердянск
Бишкек
Владивосток
Владикавказ
Воркута
Воронеж
Горловка
Грозный
Донецк
Екатеринбург
Иваново
Ижевск
Иркутск
Казань
Калининград
Каменск-Уральский
Караганда
Каховка
Кемерово
Киров
Комсомольск-на-Амуре
Костанай
Краснодар
Красноярск
Красный луч
Ленск
Луганск
Магадан
Магнитогорск
Макеевка
Махачкала
Мелитополь
Минск
Мирный (Якутия)
Москва
Мурманск
Нерюнгри
Нижневартовск
Нижний Новгород
Нижний Тагил
Новая каховка
Новокузнецк
Новосибирск
Новый Уренгой
Норильск
Ноябрьск
Нур-Султан
Омск
Оренбург
Ош
Павлодар
Пермь
Петрозаводск
Петропавловск
Петропавловск-Камчатский
Псков
Ростов-на-Дону
Салехард
Самара
Санкт-Петербург
Саратов
Севастополь
Семей
Симферополь
Сочи
Ставрополь
Сургут
Сыктывкар
Тараз
Ташкент
Токмак
Томск
Тында
Тюмень
Ульяновск
Усинск
Усть-Каменогорск
Уфа
Хабаровск
Ханты-Мансийск
Херсон
Челябинск
Чита
Шымкент
Экибастуз
Энергодар
Южно-Сахалинск
Якутск
Ваш город
Астрахань
Войти
Запасные части к тракторам на одном сайте
+7 (932) 303-00-10
+7 (932) 303-00-10
г. Астрахань, ул. Ботвина, д. 4А
Пн-Пт: 9:30-18:30 Cб-Вс: Выходной
Отправить заявку


Фильтр гидротрансформатора на Т10М / Б10М


/
с НДС 20%
Описание
Фильтр гидротрансформатора на Т10М
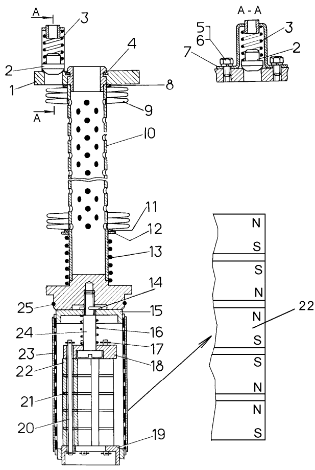
#Номер запчастиНаименование деталиКол-во в сборке
-64-14-129СПФильтр1
164-14-26Крышка1
2-Датчик аварийного давления
ММ129
ММ129-Э
ММ129-Т
FOX K4 TC06L/HNBR/14D/P1
1
3-Гайка М12×1,25-7Н.6.0198
4-Шайба 12 ОТ 65Г 098
53135-1Шайба8
6700-40-9572Кольцо1
7700-29-2476Шпилька8
8700-41-3813Штуцер1
946764Кольцо2
1064-14-22Корпус1
1164-14-57Муфта1
12-Кольцо 100-110-58-2-21
1364-14-23Корпус1
14-Кольцо 48×551
1564-14-51Муфта1
16700-40-6147Прокладка1
1764-14-116СПТрубка1
18-Шайба 10 ОТ 65Г 094
19-Болт М10-6g×80.58.0192
20-Болт М10-6g×25.58.0192
Фильтр гидротрансформатора
#Номер запчастиНаименование деталиКол-во в сборке
164-14-77Крышка1
262-14-79Клапан1
338327Пружина1
4700-42-2320Кольцо2
5-Болт M8-6gx12.88.35.0192
6-Шайба 8Т 65Г 092
762-14-143СППланка1
8700-40-6517Прокладка1
918-26-161СПЭлемент фильтрующий72
1064-14-190СПТруба1
11401063Кольцо уплотнительное1
12700-31-2042Шайба1
13700-38-2112Пружина1
14-Шплинт 1,6x1610
1564-14-131СПФильтр магнитный1
1638319Пружина1
17-Шплинт 3,2х321
1864-14-85Втулка1
1964-14-86Втулка1
2064-14-88Стержень5
2131436Шайба20
2264-14-89 1Магнит25
2364-14-132СПЗаборник1
2464-14-87Стяжка1
25700-40-3123Кольцо1
1 Детали 64-14-89 при установке в столбики располагать друг к другу одноименными полюсами.
Фильтр гидротрансформатора