Запасные части ЧТЗ Запасные части ЧТЗ
Астрахань
Например:
Актобе
Алдан
или
Выбрать автоматически
Актобе
Алдан
Алматы
Алчевск
Архангельск
Астана
Астрахань
Атырау
Баку
Балашиха
Барнаул
Белгород
Бердянск
Бишкек
Владивосток
Владикавказ
Воркута
Воронеж
Горловка
Грозный
Донецк
Екатеринбург
Иваново
Ижевск
Иркутск
Казань
Калининград
Каменск-Уральский
Караганда
Каховка
Кемерово
Киров
Комсомольск-на-Амуре
Костанай
Краснодар
Красноярск
Красный луч
Ленск
Луганск
Магадан
Магнитогорск
Макеевка
Махачкала
Мелитополь
Минск
Мирный (Якутия)
Москва
Мурманск
Нерюнгри
Нижневартовск
Нижний Новгород
Нижний Тагил
Новая каховка
Новокузнецк
Новосибирск
Новый Уренгой
Норильск
Ноябрьск
Нур-Султан
Омск
Оренбург
Ош
Павлодар
Пермь
Петрозаводск
Петропавловск
Петропавловск-Камчатский
Псков
Ростов-на-Дону
Салехард
Самара
Санкт-Петербург
Саратов
Севастополь
Семей
Симферополь
Сочи
Ставрополь
Сургут
Сыктывкар
Тараз
Ташкент
Токмак
Томск
Тында
Тюмень
Ульяновск
Усинск
Усть-Каменогорск
Уфа
Хабаровск
Ханты-Мансийск
Херсон
Челябинск
Чита
Шымкент
Экибастуз
Энергодар
Южно-Сахалинск
Якутск
Ваш город
Астрахань
Войти
Запасные части к тракторам на одном сайте
+7 (932) 303-00-10
+7 (932) 303-00-10
г. Астрахань, ул. Ботвина, д. 4А
Пн-Пт: 9:30-18:30 Cб-Вс: Выходной
Отправить заявку


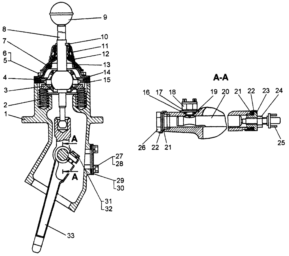
Механизм переключения передач на Т10М / Б10М


/
с НДС 20%
Описание
Механизм переключения передач на Т10М
#Номер запчастиНаименование деталиКол-во в сборке
-18-12-177СП
18-12-178СП 1
Механизм переключения1
1
118-12-330 1
18-12-391
Проставка1
238325Пружина2
313360Кольцо1
413317Фланец шаровой внутренний2
5-Болт M10-6g×30.58.0194
6-Шайба 10 ОТ 65Г 094
740820
-
Кольцо
Кольцо КО 50×70-2
1
818-12-161СП 1
18-12-162СП
Рычаг (правый)
Рычаг (левый)
1
1
913310СПРукоятка1
10-Шплинт 4×32.0191
1113591Крышка1
1246612Колпачок1
1313319Крышка1
1413318Фланец шаровой наружный1
1540819
40819-1
Прокладка3
1618-12-411 1Пластина стопорная1
1721-12-50 1Прокладка7
18-Выключатель 1
ВК 418 3716 000
ВК 418 3716 000-Т
1
19-Кольцо 014-018-25-2-5 11
2018-12-412 1
18-12-413
Валик (правый)
Валик (левый)
1
1
2140588Прокладка4
2231368Шайба2
23700-37-2319 1Пробка1
24700-30-604 1Гайка1
25-Выключатель ВК 412 11
26700-37-2154Пробка1 1; 2
27-Болт M8-6g×16.88.35.0194
28-Шайба 8Т 65Г 094
2918-12-246Крышка1
30700-40-3072-1Прокладка1
31-Болт М12×1,25-6g×35.109.0192
32700-31-2337Пластина стопорная1
3318-12-410Рычаг1
1 Для механизма переключения диапазонов и направления движения..
Механизм переключения передач