Запасные части ЧТЗ Запасные части ЧТЗ
Астрахань
Например:
Актобе
Алдан
или
Выбрать автоматически
Актобе
Алдан
Алматы
Алчевск
Архангельск
Астана
Астрахань
Атырау
Баку
Балашиха
Барнаул
Белгород
Бердянск
Бишкек
Владивосток
Владикавказ
Воркута
Воронеж
Горловка
Грозный
Донецк
Екатеринбург
Иваново
Ижевск
Иркутск
Казань
Калининград
Каменск-Уральский
Караганда
Каховка
Кемерово
Киров
Комсомольск-на-Амуре
Костанай
Краснодар
Красноярск
Красный луч
Ленск
Луганск
Магадан
Магнитогорск
Макеевка
Махачкала
Мелитополь
Минск
Мирный (Якутия)
Москва
Мурманск
Нерюнгри
Нижневартовск
Нижний Новгород
Нижний Тагил
Новая каховка
Новокузнецк
Новосибирск
Новый Уренгой
Норильск
Ноябрьск
Нур-Султан
Омск
Оренбург
Ош
Павлодар
Пермь
Петрозаводск
Петропавловск
Петропавловск-Камчатский
Псков
Ростов-на-Дону
Салехард
Самара
Санкт-Петербург
Саратов
Севастополь
Семей
Симферополь
Сочи
Ставрополь
Сургут
Сыктывкар
Тараз
Ташкент
Токмак
Томск
Тында
Тюмень
Ульяновск
Усинск
Усть-Каменогорск
Уфа
Хабаровск
Ханты-Мансийск
Херсон
Челябинск
Чита
Шымкент
Экибастуз
Энергодар
Южно-Сахалинск
Якутск
Ваш город
Астрахань
Войти
Запасные части к тракторам на одном сайте
+7 (932) 303-00-10
+7 (932) 303-00-10
г. Астрахань, ул. Ботвина, д. 4А
Пн-Пт: 9:30-18:30 Cб-Вс: Выходной
Отправить заявку


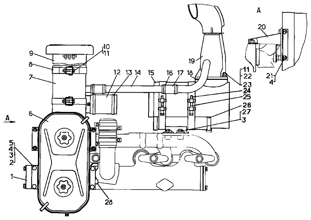
Установка агрегатов систем впуска и выпуска на Т10М / Б10М


/
с НДС 20%
Описание
Установка агрегатов систем впуска и выпуска на Т10М
#Номер запчастиНаименование деталиКол-во в сборке
-51-05-27СП
65-05-15СП 1
Установка агрегатов систем впуска и выпуска1
151-05-6-01Кронштейн1
23011Гайка4
33135-1Шайба8, 12 1
4-Шайба 12 ОТ 65Г 098, 10 1
5-Болт М12х30.58.0194
651-05-215СПВоздухоочиститель1
751-05-216СПМультициклон1
851-05-322-01СПХомут2
951-05-205СПВоздухозаборник1
10700-28-2381Болт2
1131308-1Шайба8
12700-40-3484Рукав1
13сб. 3319-209-1Хомут2
1451-05-594
51-05-594-01 1
Труба1
1551-05-192СП
65-05-142СП 1
Глушитель1
16Хомут червячный 32-50/12 W2 (Германия)4
17700-40-3686Рукав2
18700-40-2636Прокладка1
1951-05-379СП
65-05-145СП 1
Труба выхлопная1
2051-05-106СПКронштейн1
21-Гайка М12.6.0194
22-Шпилька 2М10× 3р/6g ×35.66.0836
23-Гайка М10-7Н.6.01912
2451-05-116СПБолт стяжной2
2551-05-295СПХомут2
2651-05-247СП
65-05-143СП 1
Кронштейн1
27-Болт М12х25.58.0194
2851-05-5Кронштейн1
1 Для дизеля с «обратным потоком».
Установка агрегатов систем впуска и выпуска